RACCORDI OLEODINAMICI

vai ai pezzi finiti
RACCORDI OLEODINAMICI

Una lunga esperienza nel settore ha portato la FAI ZANE' SPA in una posizione di rilievo sul mercato dei raccordi per oleoidraulica e relativa raccordatura.
Questo risultato è stato raggiunto soprattutto grazie al costante impegno in studi e ricerche volti al miglioramento della qualità ed affidabilità dei prodotti nonché agli importanti investimenti in attrezzature sempre più moderne ed uomini sempre più preparati.
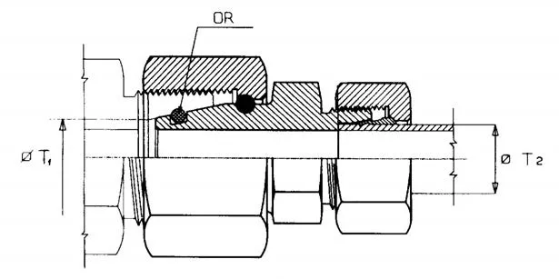
RACCORDI PER TUBI IN ACCIAIO

scheda tecnica

Scarica le scheda tecnica per consultare i dettagli relativi alle caratteristiche del prodotto.

Tutti i componenti dei raccordi sono ricavati da trafilato o stampato a freddo o a caldo. I materiali sono

-acciaio al carbonio secondo DIN 3859
-acciaio inossidabile secondo DIN 17440 materiale n.1.4401 I codici dei raccordi indicati nel catalogo si riferiscono a raccordi in acciaio.
Per ordinazioni: aggiungere al codice la misura. Es. di codifica: RL21106 3/8"
Per ordinare dei raccordi inox aggiungere al codice la lettera A.
Campo delle pressioni nominali
TB - Temperature di esercizio ammesse

Temperature indicative di esercizio ammesse per singoli materiali (influenzabili dal tipo di fluido)

-Per raccordi nei seguenti materiali;
Acciaio al carbonio: -40° +120° (DIN 3859)
Acciaio inox: -60° +400° (DIN 17440)
(TABELLA1)
A tale riguardo bisogna tenere conto di quanto indicato nel paragrafo "Riduzioni di pressione".
-Per il materiale delle guarnizioni di tenuta: NBR®(di serie): da -35° a +100°
FPM (viton®): * da-25° a +200°
*Marchio registrato "DUPONT"
Pressioni e Temperature massime consentite
Riduzione di pressione

Per materiali diversi dall'acciaio al carbonio può essere necessario prevedere pressioni di utilizzo più ridotte rispetto a quanto indicato nel catalogo. Riportiamo qui di seguito le riduzioni di pressione secondo i differenti materiali a determinate temperature

Se il materiale dei tubi impiegati è diverso da quello dei raccordi occorre verificare separatamente il campo delle temperature ammesse e le necessarie riduzioni di pressione.
Per i raccordi con i filetti maschi si deve eventualmente tenere conto di riduzioni di pressione supplementari. considerando il materiale del gruppo dove si awita il raccordo e il tipo di tenuta dello stesso.
(TABELLA2)

scegli il prodotto

Seleziona il prodotto che stai cercando per visualizzare le opzioni e le disponibilità a magazzino.

  • ACCESSORI
  • RACCORDI AD INNESTO RAPIDO OLEODINAMICI
  • RACCORDI OLEODINAMICI
DADI ED ANELLI AD INCISIONE

DADI ED ANELLI AD INCISIONE

RACCORDI DI RIDUZIONE MASCHIO-FEMMINA

RACCORDI DI RIDUZIONE MASCHIO-FEMMINA

RACCORDI DI RIDUZIONE MASCHIO-FEMMINA CON O-RING

RACCORDI DI RIDUZIONE MASCHIO-FEMMINA CON O-RING

RACCORDI DI RIDUZIONE MASCHIO-FEMMINA CON GUARNIZIUONE

RACCORDI DI RIDUZIONE MASCHIO-FEMMINA CON GUARNIZIUONE

RACCORDI DI RIDUZIONE MASCHIO-FEMMINA CON GUARNIZIONE PN MAGGIORE

RACCORDI DI RIDUZIONE MASCHIO-FEMMINA CON GUARNIZIONE PN MAGGIORE

RACCORDI INTERMEDI DI RIDUZIONE DIRITTI

RACCORDI INTERMEDI DI RIDUZIONE DIRITTI

RACCORDI INTERMEDI DI RIDUZIONE DIRITTI

RACCORDI INTERMEDI DI RIDUZIONE DIRITTI

RACCORDI DI RIDUZIONE

RACCORDI DI RIDUZIONE

RACCORDI DI RIDUZIONE PN MAGGIORE

RACCORDI DI RIDUZIONE PN MAGGIORE

RACCORDI DI RIDUZIONE CON O-RING

RACCORDI DI RIDUZIONE CON O-RING

RACCORDI DI RIDUZIONE CON O-RING PN MAGGIORE

RACCORDI DI RIDUZIONE CON O-RING PN MAGGIORE

RACCORDI PER MANOMETRI

RACCORDI PER MANOMETRI

TAPPI DI CHIUSURA CON GUARNIZIONE

TAPPI DI CHIUSURA CON GUARNIZIONE

TAPPO CONICO CON O-RING

TAPPO CONICO CON O-RING

CONTRODADO

CONTRODADO

vuoi più dettagli?

Scrivici per avere direttamente le risposte alle tue domande, ti daremo tutto il supporto necessario per comprendere le tue necessità e fornirti i prodotti perfetti per te.

Vuoi maggiori informazioni sui pezzi, tutte le misure e controllare in autonomia le tabelle tecniche?.

Contatti
FAIZANÈ S.P.A
Via Monte Pasubio, 150
36010 Zanè (VI) Italy
E-mail: info@faizane.com
Pec: pec@pec.faizane.com

TI SERVONO INFORMAZIONI?

Richiedi informazioni sui prodotti direttamente al nostro servizio vendita. Riceverai una risposta rapida, conferma delle disponibilità ed entrerai in contatto con i nostri esperti che potranno consigliarti in caso di dubbi.

I campi contrassegnati con un asterisco * sono obbligatori

Dichiaro di aver letto e compreso l'informativa sulla privacy*

invia richiesta

OPS!

Controlla i campi in rosso.

Ricerca prodotti

Ricerca prodotti presenti all'interno del catalogo

cerca